
WeiHai YongXin Chemical Machinery Co.,Ltd.

磁力驅動是近年來(lai)開發的一種新型傳動密封技術。
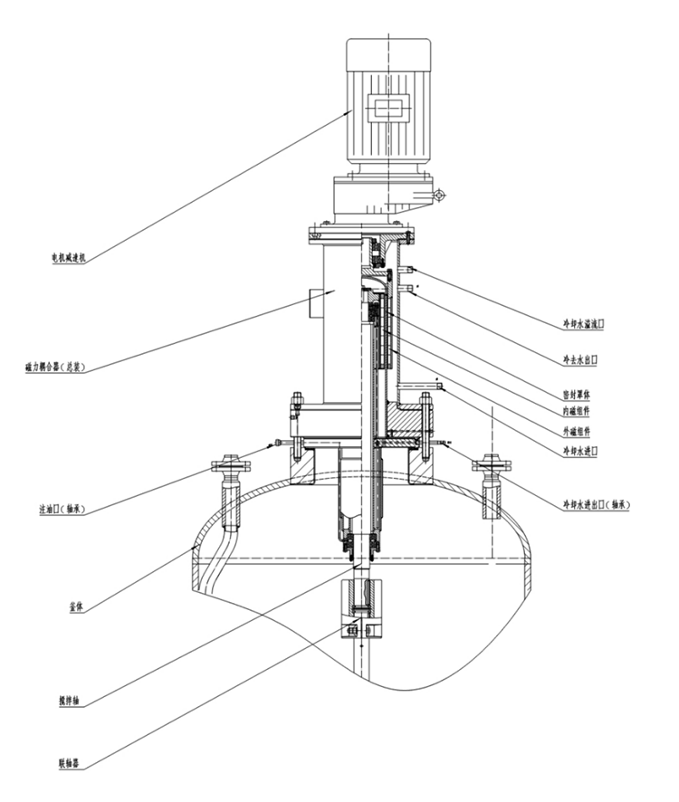
磁力不(bu)銹鋼反應釜(fu)的(de)關鍵部件磁力耦合傳(chuan)(chuan)動(dong)器是(shi)一種利用(yong)永(yong)磁材料進行(xing)(xing)耦合傳(chuan)(chuan)動(dong)的(de)傳(chuan)(chuan)動(dong)裝置(zhi),改變了傳(chuan)(chuan)統的(de)必須過攪拌(ban)軸的(de)動(dong)密(mi)(mi)封(feng)結(jie)構為靜密(mi)(mi)封(feng)結(jie)構,釜(fu)內攪拌(ban)部件完全(quan)在(zai)釜(fu)體靜密(mi)(mi)封(feng)腔內部旋轉(zhuan),不(bu)伸出釜(fu)體外部,徹底解決了填料密(mi)(mi)封(feng)和機械密(mi)(mi)封(feng)因(yin)動(dong)密(mi)(mi)封(feng)而造(zao)成的(de)無(wu)法克服的(de)泄露問題,使反應介(jie)質絕無(wu)任何(he)泄露和污染,是(shi)國內目前進行(xing)(xing)高(gao)溫、高(gao)壓(ya)下的(de)化學反應最為理想的(de)裝置(zhi),特別(bie)是(shi)進行(xing)(xing)易燃(ran)、易爆、有(you)毒介(jie)質的(de)化學反應,更加顯示出它的(de)優越(yue)性。
用(yong)稀(xi)土永磁(ci)制(zhi)作(zuo)的強磁(ci)回(hui)轉(zhuan)式(shi)(shi)耦(ou)合(he)結構(磁(ci)力(li)驅(qu)動裝(zhuang)置),磁(ci)力(li)驅(qu)動裝(zhuang)置的基本制(zhi)造材料均為鐵磁(ci)性物質(zhi),磁(ci)導率極(ji)佳,磁(ci)場(chang)在(zai)穿(chuan)過(guo)用(yong)于密封合(he)金層時幾(ji)乎沒有(you)損(sun)耗。由此外部驅(qu)動永磁(ci)體(ti)產生的旋(xuan)轉(zhuan)磁(ci)場(chang)可(ke)以有(you)效被(bei)內(nei)部永磁(ci)體(ti)轉(zhuan)子接(jie)受(shou),進(jin)(jin)而帶(dai)動反應器內(nei)的攪(jiao)拌部件進(jin)(jin)行(xing)物料混(hun)合(he),攪(jiao)拌速度為0~300r/min,甚至更高,可(ke)配推進(jin)(jin)、槳(jiang)式(shi)(shi)、錨式(shi)(shi)、框式(shi)(shi)、螺帶(dai)等各(ge)種(zhong)槳(jiang)。
磁力耦合攪拌(ban)反(fan)應(ying)(ying)釜(fu)(fu)是(shi)機械密封、填(tian)料密封反(fan)應(ying)(ying)釜(fu)(fu)的全新替代產品,適用于化(hua)工、制藥、染料及微生物工程等(deng)行(xing)業,尤其適用于工作介質易燃易爆(bao)、有毒及加氫(qing)、高壓、高真空、高速攪拌(ban)等(deng)其他常見(jian)密封無法使(shi)用的化(hua)學反(fan)應(ying)(ying)。