
WeiHai YongXin Chemical Machinery Co.,Ltd.

磁力(li)驅動(dong)是近(jin)年(nian)來開發的(de)一種(zhong)新型傳(chuan)動(dong)密封技術。
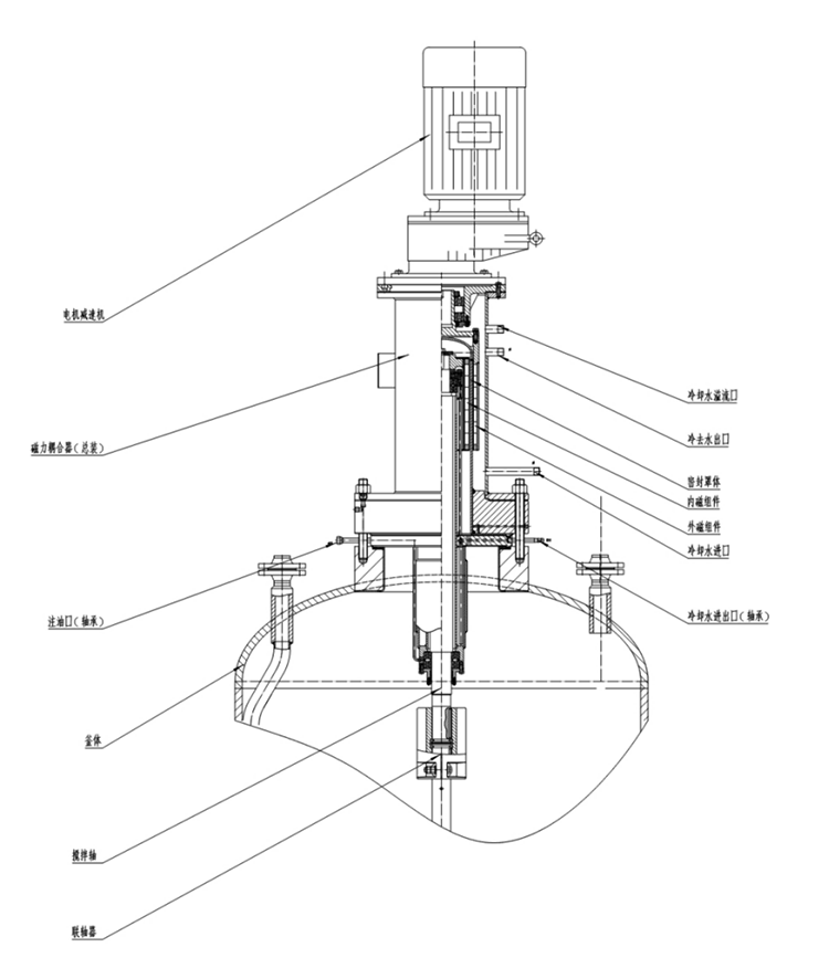
磁(ci)力不銹鋼(gang)反(fan)應釜(fu)的(de)(de)(de)(de)關鍵部(bu)件(jian)磁(ci)力耦(ou)合傳(chuan)動(dong)(dong)(dong)器是一種利用永磁(ci)材料進行(xing)耦(ou)合傳(chuan)動(dong)(dong)(dong)的(de)(de)(de)(de)傳(chuan)動(dong)(dong)(dong)裝置,改變(bian)了傳(chuan)統的(de)(de)(de)(de)必須過(guo)攪(jiao)拌軸的(de)(de)(de)(de)動(dong)(dong)(dong)密(mi)封(feng)(feng)(feng)結(jie)構為靜密(mi)封(feng)(feng)(feng)結(jie)構,釜(fu)內(nei)攪(jiao)拌部(bu)件(jian)完全在(zai)釜(fu)體靜密(mi)封(feng)(feng)(feng)腔內(nei)部(bu)旋轉,不伸出釜(fu)體外部(bu),徹底解(jie)決(jue)了填(tian)料密(mi)封(feng)(feng)(feng)和(he)機(ji)械密(mi)封(feng)(feng)(feng)因動(dong)(dong)(dong)密(mi)封(feng)(feng)(feng)而造成的(de)(de)(de)(de)無法克服的(de)(de)(de)(de)泄露問題,使反(fan)應介質(zhi)絕無任何泄露和(he)污染,是國內(nei)目前進行(xing)高(gao)溫、高(gao)壓下(xia)的(de)(de)(de)(de)化學反(fan)應最為理想的(de)(de)(de)(de)裝置,特(te)別是進行(xing)易(yi)燃、易(yi)爆、有毒(du)介質(zhi)的(de)(de)(de)(de)化學反(fan)應,更加顯示(shi)出它的(de)(de)(de)(de)優越性。
用稀土(tu)永磁(ci)制作的(de)強磁(ci)回轉式(shi)(shi)耦(ou)合結構(磁(ci)力驅(qu)動裝(zhuang)置),磁(ci)力驅(qu)動裝(zhuang)置的(de)基本制造材料均為鐵磁(ci)性物質,磁(ci)導率極佳(jia),磁(ci)場(chang)在穿(chuan)過(guo)用于密封(feng)合金層時幾(ji)乎沒(mei)有(you)損耗(hao)。由此外(wai)部(bu)驅(qu)動永磁(ci)體產生(sheng)的(de)旋(xuan)轉磁(ci)場(chang)可(ke)以有(you)效被內(nei)部(bu)永磁(ci)體轉子接受,進而帶(dai)動反應器內(nei)的(de)攪拌部(bu)件進行物料混合,攪拌速(su)度為0~300r/min,甚至更高,可(ke)配(pei)推進、槳式(shi)(shi)、錨(mao)式(shi)(shi)、框式(shi)(shi)、螺(luo)帶(dai)等各種(zhong)槳。
磁力耦合攪拌反(fan)應(ying)釜(fu)是機(ji)械密(mi)封、填(tian)料密(mi)封反(fan)應(ying)釜(fu)的全新替代產品(pin),適(shi)用于化工(gong)、制藥、染(ran)料及(ji)微(wei)生物工(gong)程等行(xing)業,尤其(qi)適(shi)用于工(gong)作介質易(yi)燃易(yi)爆、有毒及(ji)加氫、高壓(ya)、高真(zhen)空、高速攪拌等其(qi)他常見密(mi)封無(wu)法使用的化學(xue)反(fan)應(ying)。